| 產品描述 | 技術參數 | 包裝參數 | 技術文檔 | |||||
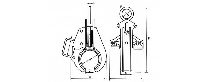
【產品名稱】鷹牌KH型圓管夾鉗,鷹牌KH型圓鋼起吊鉗 【產品品牌】日本EAGLE CLAMP鷹牌 【產品規格】200kg~1500kg 【產品保質】保質期12個月 【是否現貨】部分型號有庫存 【分類】圓管夾鉗 【用途】管狀物無損傷運輸、搬運、鋪設、配管 【適用鋼材】鑄鐵管、鋼管、塑料涂層管、圓棒
● 鷹牌KH型圓管夾鉗,輕量緊湊型,狹窄的地方也容易作業; ● 鷹牌KH型圓鋼起吊鉗屬于無傷型夾鉗,采用聚氨酯墊避免造成劃痕; ● 鷹牌KH型圓鋼起吊鉗安裝、嵌合簡單,容易操作; ● 吊載荷的強大自動緊固機構,夾緊力隨載荷物重量成比例增強; ● 鷹牌KH型無傷圓管夾鉗,不會側滑,可斜度45°傾斜角度吊; ● 鎖銷的插頭雙重鎖機構,高強度焊接機構本體; ● 鷹牌KH型圓管夾鉗,烤漆(環氧涂料)。
【鷹牌KH型圓鋼起吊鉗實物圖片】 |
||||||||
|
相關產品
|









