| 產品描述 | 技術參數 | 包裝參數 | 技術文檔 | |||||
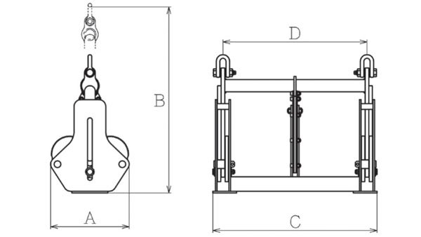
【產品名稱】EUIF型U字溝起吊用夾鉗 【產品品牌】日本鷹牌·EAGLE CLAMP 【產品規格】600kg、800kg 【產品保質】保質期12個月 【分類】混凝土制品吊夾具 【應用】混凝土制品、U字型溝、道路邊溝、落蓋式道路用側溝等內吊、搬運、裝卸、鋪設
●EUIF型U字溝起吊用夾鉗屬于輕量型混凝土制品吊具,結構簡單。 ●EUIF型鷹牌混凝土制品吊具可用于經常使用的尺寸,無需調整。 ●帶自動安裝和拆卸裝置,操作方便。
EUIF型鷹牌混凝土制品吊具吊裝圖片 |
||||||||
|
相關產品
|










