| 產品描述 | 技術參數 | 包裝參數 | 技術文檔 | |||||
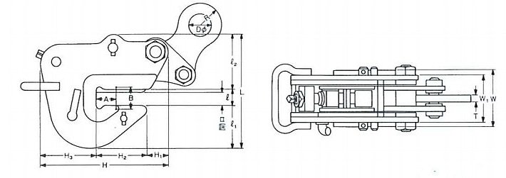
【產品名稱】BM型鷹牌橫吊無傷鋼板鉗,BM型鷹牌橫向起吊用無傷夾鉗 【產品品牌】EAGLE CLAMP鷹牌 【產品規格】1T~3T 【產品保質】保質期12個月 【是否現貨】現貨供應 【是否定制】非標載荷可定制 【產品用途】橫吊,水平吊、搬運,反轉,旋轉,焊接,裝配,安裝和攜帶等場合 【適用鋼材】型鋼(H型鋼),鋼鐵,橋梁,鋼結構,鋼板,鋼梁,鋼結構,造船材料縱向吊車梁管等,非常適合不銹鋼板,復合鋼板,鋁板,非鐵金屬盒硬度可達HV280的有色金屬等的無劃痕起吊
● BM型鷹牌橫吊無傷鋼板鉗,無劃痕橫向起吊作業,可牢固夾緊起吊物; ● BM型鷹牌橫向起吊用無傷夾鉗,附帶螺旋式夾緊釋放裝置、附帶鎖擋凸輪,防滑脫安全; ● BM型鷹牌橫吊無傷鋼板鉗本體采用特殊合金鋼制,焊接結構高強度; ● BM型鷹牌橫向起吊用無傷夾鉗鎖緊裝置采用拉桿,非拉環; ● BM型鷹牌橫吊無傷鋼板鉗抗拉伸強度高,自動彈簧螺桿鎖緊。 |
||||||||
|
相關產品
|








