【產品名稱】三木CH-N水平起吊用夾鉗(CH-N三木水平橫吊具)
【產品品牌】日本NETSUREN三木
【產品規格】0.5T~5T
【產品保質】保質期12個月
【適用鋼材】鋼板的水平吊和重疊吊專用夾具

● 三木CH-N水平起吊用夾鉗,夾緊力隨吊上載荷的增加而增強,不用擔心載荷脫落;
● CH-N三木水平橫吊具,凸輪結構,高強度合金鋼造,安全耐久使用;
| 日本三木ネツレン株式會社,成立于1870年,專注于吊裝夾具的生產與制造,以不滿足現狀,不斷提出鋼板夾鉗新技術、新提案為發展理念. 1952年,三木鋼板鉗獲得JIS認證,之后先后通過ISO 9002,ISO9001 2000認證,創造許多無災害生產記錄,應用領域非常廣泛。
日本三木鋼板起重鉗擁有完善的售后、質量保障與災害補償,可放心使用!
|
 |
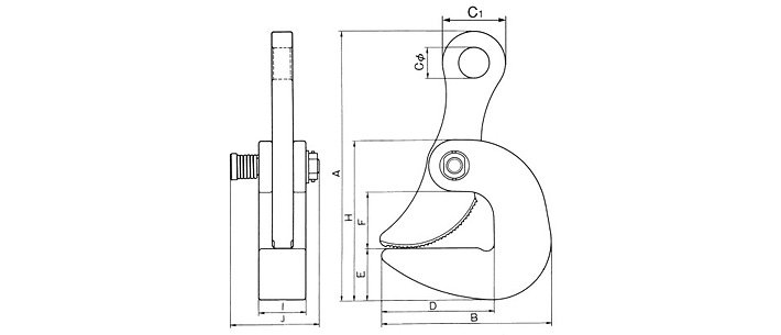
三木CH-N水平起吊用夾鉗技術參數:
| 載荷T |
開口大小mm |
開口深度mm |
A |
B |
C |
C1 |
E |
F |
H |
I |
J |
自重kg |
| 0.5T |
0~20 |
70 |
157 |
100 |
20 |
40 |
30 |
35 |
95 |
25 |
50 |
1.2 |
| 15~35 |
70 |
172 |
100 |
20 |
40 |
30 |
50 |
110 |
25 |
50 |
1.4 |
| 1T |
0~25 |
75 |
177 |
120 |
24 |
40 |
35 |
35 |
110 |
30 |
60 |
1.8 |
| 20~45 |
75 |
197 |
120 |
24 |
40 |
35 |
55 |
130 |
30 |
60 |
2 |
| 2T |
0~30 |
110 |
248 |
160 |
30 |
56 |
50 |
55 |
155 |
40 |
73 |
4.6 |
| 25~55 |
110 |
273 |
160 |
30 |
56 |
50 |
80 |
180 |
40 |
73 |
4.8 |
| 3T |
0~40 |
130 |
309 |
195 |
36 |
72 |
60 |
65 |
185 |
55 |
108 |
9.5 |
| 35~75 |
130 |
344 |
195 |
36 |
72 |
60 |
100 |
220 |
55 |
108 |
10 |
| 5T |
0~50 |
170 |
410 |
255 |
45 |
110 |
80 |
85 |
255 |
70 |
140 |
25 |
| 45~95 |
170 |
455 |
255 |
45 |
110 |
80 |
125 |
300 |
70 |
140 |
26 |