| 產品描述 | 技術參數 | 包裝參數 | 技術文檔 | ||||
|
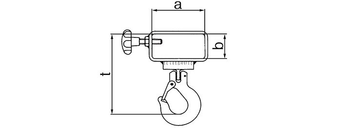
【產品名稱】JDT單肢起重鉤(鏟車單旋轉鉤) 【產品品牌】德國JDT 【產品規格】2.5T~6.7T 【產品保質】保質12個月 【是否現貨】現貨供應 【典型應用】貨叉吊鉤,配套叉車等起吊重物
產品特點: ● JDT單肢起重鉤,100級高強度吊鉤,采用合金鋼模鍛而成,采用特殊的熱處理工藝,使之達到要求的高強度。 ● 鏟車單旋轉鉤屬于JDT德國ENORM10級吊鉤。(相關產品:JDT雙肢起重鉤)
【鏟車單旋轉鉤使用案例圖片】 德國JDT吊索具,是出名安全吊索具產品,擁有190多年的吊索具生產歷史,上世紀60年代,JDT作為安全的吊索具生產商獲得“H3”標記使用許可,在2008年,BG組織為高質量的100級(ENORM)吊索具頒發了質量認證。 |
|||||||
|
相關產品
|










