| 產品描述 | 技術參數 | 包裝參數 | 技術文檔 | |||||
|
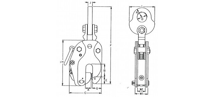
鷹牌SLT型豎吊鋼板鉗,是對橫向拉力具有抵抗力的吊環!
【產品名稱】SLT型豎吊鋼板鉗/SLT型鷹牌豎吊鋼板起重鉗 【產品品牌】日本EAGLE CLAMP鷹牌 【產品規格】1T~5T 【產品保質】保質期12個月 【是否定制】非標載荷可定制 【產品分類】縱吊夾具,豎吊夾具,立吊夾具 【產品用途】垂直起重,運輸,翻轉,旋轉,焊接,裝配,安裝等 【適用鋼材】鋼板,型鋼,平鋼,鋼制梁,鋼鐵構物等
● SLT型鷹牌豎吊鋼板起重鉗,確實有效插銷式鎖裝置(緊固彈簧式機構); ● 鷹牌SLT型豎吊鋼板鉗平衡負載的2倍以上的力量緊固,自動緊固機構; ● SLT型鷹牌豎吊鋼板起重鉗,緊固力與吊載荷成比例增加; ● 鷹牌SLT型豎吊鋼板鉗高周波淬火的特殊合金鋼制凸輪; ● SLT型鷹牌豎吊鋼板起重鉗,焊接結構的高強度鋼制本體。 |
||||||||
|
相關產品
|









