| 產品描述 | 技術參數 | 包裝參數 | 技術文檔 | |||
|
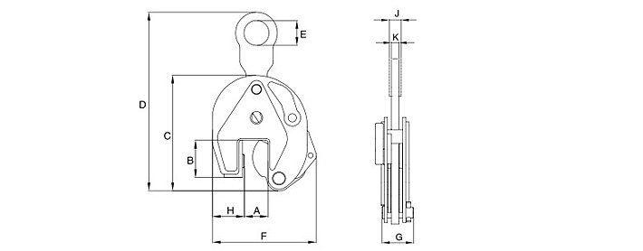
【產品名稱】IP10垂直鋼板吊鉗 【產品品牌】美國Crosby科索比 【產品規格】0.5噸~30噸 【產品保質】保質期12個月 【典型應用】適用于垂直升降、轉向和移送,可根據需要,以從水平到垂直和下降到水平面(180°) 的方式升降、轉向、移動或垂直移送產品、板材或物料。
產品特點: ● IP10垂直鋼板吊鉗額定載荷為0.5噸~30噸,其他工作負載可按需定制; ● 美國Crosby科索比鋼板鉗IP10,多種開口尺寸0 ~155 mm; ● IP10垂直鋼板吊鉗為焊接合金鋼體,高強度高韌性; ● 美國Crosby科索比鋼板鉗獨立經過OOF測試2倍負載限制與認證工作; ● IP10垂直鋼板吊鉗通常用作單點起重,或與具有多個垂直下降線的分布梁配合使用。
● IP10垂直鋼板吊鉗多種款式可供選擇: ? IP10 - 標準鉗,適用于表面硬度為37Rc (345 HB) 的材料。 ? IP10J - 更大的卡爪開口。 ? IP10S - 適用于不銹鋼材料。 ? IP10H - 適用于表面硬度為47Rc (450 HB) 的材料。 |
||||||
|
相關產品
|









